|
|
||||||||||||||||||||||
|
周节制 |
槽型 |
MXL |
XXL |
XL |
L |
H |
XH |
XXH |
||||||||||||||
|
挡圈最小高度K |
0.5 |
0.8 |
1.0 |
1.5 |
2.0 |
4.8 |
6.1 |
|||||||||||||||
|
挡圈厚度h |
0.5~1.0 |
0.5~1.5 |
0.5~1.5 |
1.0~2.0 |
1.5~2.5 |
4.0~5.0 |
5.0~6.5 |
|||||||||||||||
|
带轮外径d0 |
见各型号附表 |
|||||||||||||||||||||
|
挡圈弯曲处直径dw |
dw=do+(0.38±0.25) |
|||||||||||||||||||||
|
挡圈外径df |
df=dw+2K |
|||||||||||||||||||||
|
模数制 |
模数 |
1 |
1.5 |
2 |
2.5 |
3 |
4 |
5 |
7 |
10 |
||||||||||||
|
Kmin |
0.5 |
1 |
1.5 |
2 |
3 |
5 |
6 |
|||||||||||||||
|
h |
0.5~1 |
1.0~1.5 |
1.0~2.0 |
1.5~2.5 |
2.5~4 |
4~5 |
5~6.5 |
|||||||||||||||
|
特殊节距 |
槽型 |
T2.5 |
T5 |
T10 |
T20 |
|||||||||||||||||
|
挡圈最小高度K |
0.8 |
1.2 |
2.2 |
3.2 |
||||||||||||||||||
|
挡圈弯曲处直径dw |
dw=do+(0.38±0.25) |
|||||||||||||||||||||
|
挡圈外径df |
df=dw+2K |
|||||||||||||||||||||
|
圆弧齿 |
槽型 |
3M |
5M |
8M |
14M |
20M |
||||||||||||||||
|
挡圈最小高度K |
2.0~2.5 |
2.5~3.5 |
4.0~5.5 |
7.~7.5 |
8.0~8.5 |
|||||||||||||||||
|
R=(dw~do)/2 |
1 |
1.5 |
2 |
2.5 |
3 |
|||||||||||||||||
|
挡圈厚度h |
1.5~2.0 |
1.5~2.5 |
2.5~3. |
3.0~3.5 |
||||||||||||||||||
|
带轮外径do |
各型号附表 |
|||||||||||||||||||||
|
挡圈弯曲处直径dw |
dw=do+2R |
|||||||||||||||||||||
|
挡圈外径df |
df=dw+2K |
|||||||||||||||||||||
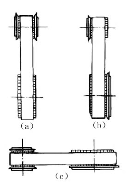
同步带轮档圈的设置
|
两轴传动 |
(1)
(2)(2)也可在大小带轮的不同侧面各装单侧挡圈,如图b |
|
|
|
|
|
||
|
|
|
||
|
多轴传动 |
(1)
(2) |
||
本文由深圳市合发齿轮机械有限公司,合发齿轮17年只做一件事精密齿轮制造—同步带轮—同步带,生产厂家标准件大量库存当天发货价格优质保障,集研发.生产.服务一体化,

