同步带轮技术特征:
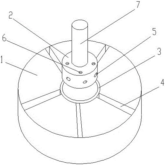
1.一种同步带轮加工固定底座,包括底座本体和加固座,其特征在于,所述底座本体中央开设有一环形卡槽,所述环形卡槽外侧的底座本体上开设有多条排液槽,所述排液槽一端连接到所述环形卡槽上,所述排液槽另一端导向所述底座本体外部,所述加固座与所述环形卡槽对应上下卡合,所述加固座侧端面上开设有多个横向螺母锁孔,所述横向螺母锁孔开设位置分别与所述排液槽开设位置对应,所述加固座上端面上还开设有多个纵向螺母锁孔,所述横向螺母锁孔和所述纵向螺母锁孔内均导入紧定螺母连接固定,所述加固座上端中央竖直导出一同步带轮卡柱。
2.根据权利要求1所述的同步带轮加工固定底座,其特征在于,所述同步带轮卡柱下端与所述加固座一体式连接,所述同步带轮卡柱上端对应支起同步带轮。
3.根据权利要求1所述的同步带轮加工固定底座,其特征在于,所述加固座上端通过紧定螺母连接导入所述纵向螺母锁孔而固定在所述底座本体上,所述加固座侧端面通过紧定螺母连接导入所述横向螺母锁孔而加固。
4.根据权利要求1所述的同步带轮加工固定底座,其特征在于,所述排液槽为直线型凹槽。
88爱彩本文由深圳市合发齿轮机械有限公司,合发齿轮17年只做一件事精密齿轮制造—同步带轮—同步带,生产厂家标准件大量库存当天发货价格优质保障,集研发.生产.服务一体化,
