齿轮加工刀具02齿轮滚刀
齿轮滚刀的工作原理类似于交错斜齿轮副的啮合过程。滚刀相当于小齿轮,工件等效于大齿轮。
88爱彩 滚刀绕自身轴旋转运动是滚刀滚动时的主要运动。进料运动包括齿坯的旋转和滚刀沿齿坯轴线的运动。滚刀的滚动运动和钢坯绕其轴线的旋转运动形成一个展成运动。
88爱彩 产生运动符合齿轮啮合原理。为了确保被切割齿轮的正确齿数,必须保持严格的速比。
88爱彩 同样的滚刀可以用来加工直齿轮和螺旋齿轮,但是滚刀有不同的安装角度。安装角度是指滚刀轴与齿轮端面之间的角度。
安装角度基本原理:滚刀齿向与齿轮齿向相同。
滚刀相当于一个少齿(一个或几个齿)的螺旋齿轮,因此它的螺旋角很大,螺纹升力角很小,因此滚刀的形状不像齿轮,而是蜗杆形状,因此被称为滚刀的基本蜗杆。滚刀的齿数等于蜗杆的头部数。
阿基米德蜗杆和普通直齿蜗杆是应用最广泛的。
齿轮滚刀有切屑槽、前角和后角。沿着炉盘纵向形成凹槽,以形成切屑袋,前刀面和切削刃。
1.齿轮滚刀的选择
(2)滚刀的精度水平应与加工齿轮的精度水平一致。
第五,齿轮滚刀的安装
滚刀安装注意事项:
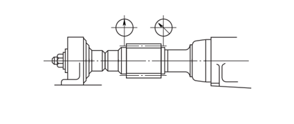
(1)用百分位计检查轴台两端径向圆跳动,其值不应超过允许值。(一般来说,加工8级精密齿轮,其外径小于200 mm时,其值不应超过0.03 mm。)
(2)双轴工作台的反弹方向和数值应尽可能一致,即两端径向跳动的最高点在同一方向。
iHF齿轮21年只做一件事精密齿轮制造—同步带轮—同步带,生产厂家标准件大量库存当天发货价格优质保障,集研发.生产.服务一体化,版权所有:http://hawaii411.com转载请注明出处
- iHF合发齿轮带您了解同步轮
- 让同步带轮不会发热的知识点,您要了解吗?
- 同步带敲黑板知识,让您了解同步带
- iHF齿轮六月展会预告
- 齿轮加工刀具05剃齿刀
- 齿轮加工刀具04插齿刀
- 齿轮加工刀具03蜗轮滚刀
- 齿轮加工刀具02齿轮滚刀
- 齿轮加工刀具01齿轮刀具的种类
- 厚度决定齿轮的大小
联系iHF齿轮
18929357195
售后电话:88爱彩0755-27746221
客服QQ:2850623673
邮箱:2850623673@qq.com
地址:深圳市龙华新区大浪创艺路16号安宏基工业园C栋


