工业4.0时代,齿轮与机器人会擦出什么火花?
伴随着经济的快速增长,工业结构转型升级的脚步也在加快。工业4.0时代,是利用信息化技术促进产业变革的时代,人体劳动力已经难以满足企业发展的需求,工业机器人便成为制造行业的新宠。
今年九月,国内推出“医护助理”智能机器人、上海将被打造成世界级智能机器人产业群,助推智能机器人行业井喷式增长……等资讯,足以证明国内机器人产业欣欣向荣的势态。
工业机器人在机械手的固定程序的基础上,通过自身的动力及智能程序完成非特定程序范围的学习性任务和智能性操作。机器人系统的结构分为四部分:执行机构、驱动系统、控制系统、传感系统。而齿轮被应用于结构中的执行机构——手部、腕部、基座部。
机器人的执行机构分为操作本体机构(类似人的手臂和手腕)、移动型本体结构(实现移动功能)。
(机器人的机械结构组成)
(机器人轮式行走机构)
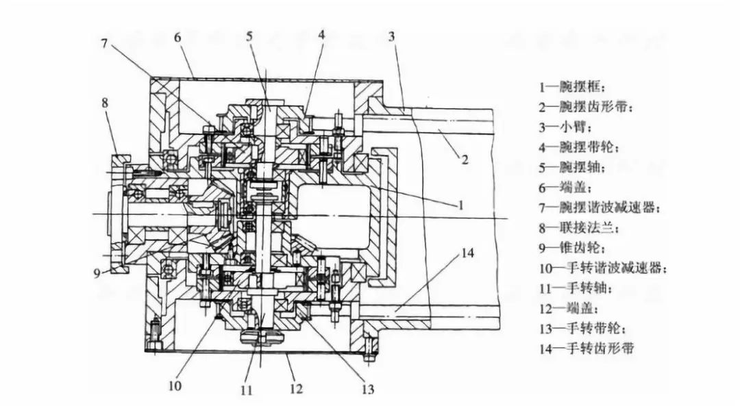
手部(本体机构)是最重要的执行机构,高精度齿轮的植入让机械手定位更精准、微型齿轮的加入使运用更灵活。而移动部齿轮也起到了传动的作用,像轮式机器人内部的驱动轮。
(弧焊机器人手腕结构图)
(后轮驱动装置机械传动结构图)
另外,近几年的学术崛起,从实践往理论反推也衍生出:摇杆式移动机器人的齿轮式差动机构研究、采用关节机器人的齿轮机床自动上料对齿方法的研究、基于渐开线球齿轮的机器人柔性手腕结构与运动分析等一系列研究。
预见未来,齿轮与机器人的结合将越来越紧密、贴切,而齿轮的运用会越来越简单。iHF合发齿轮,欢迎咨询。
iHF齿轮22年只做一件事精密齿轮制造—同步带轮—同步带88爱彩,生产厂家标准件大量库存当天发货价格优质保障,集研发.生产.服务一体化,版权所有:http://hawaii411.com转载请注明出处
“推荐阅读”
【责任编辑】:合发齿轮
- 工业4.0时代,齿轮与机器人会擦出什么火花?
- 齿轮加工技术以及装备的发展趋势分析(二)
- 齿轮加工技术以及装备的发展趋势分析(一)
- 加工磨齿余量是否会造成齿轮的不良影响?
- 什么是退火?退火条件是什么?齿轮厂家给你答案
- 厂家分享精密齿轮渗碳淬火方法
- 精密齿轮厂家论局部齿轮对行星减速机整体的影响
- 戳!行星减速机齿轮四大热处理工艺
- iHF合发齿轮讲解淬火对变形的影响
- 精密齿轮渗碳处理的种种
联系iHF齿轮
18929357195
售后电话:0755-27746221
客服QQ:2850623673
邮箱:2850623673@qq.com
地址:深圳市龙华新区大浪创艺路16号安宏基工业园C栋



